zpd_case#36_20200611

问题描述:今早郑经理让我帮他查一个客户的充值记录,客户质疑没有收到退款,平台没有充值记录,后来我去数据库找,也没有。平台显示这个客户是4月18号注册的,展鹏达4月3号已发公告,按道理就不该有充值,我让郑经理再确认一下。然后他截图给我,客户是3月注册的,原来是他给的电话号码给错了然后我就在平台看了一下展鹏达的会员,发现还有5/6月注册的,所以我就想避免不必要的麻烦要不要关掉个人中心入口。

--解决:

已关闭菜单入口。

操作步骤:进入微信公众号页面,功能项选择自定义菜单,停用后会取消菜单。
状态(☑表示选定 ):☑  已解决  |  处理中  |  暂搁置 
售后(跟单)工程师:chinyee

zpd_case#35_20200413

问题描述:展鹏达的郑伟想在会员管理那里有个页数跳转

背景:展鹏达正在处理用户退款问题,因页面不能跳转 所以只能翻页操作 他们觉得太繁琐了。

--跟踪

【YD】:转产品评估,patd:1000015

--解决:
状态(☑表示选定 ):☑  已解决  |  处理中  |  暂搁置 
售后(跟单)工程师:YD

zpd_case#34_20200319

问题描述:展鹏达迁至新公众号

--跟踪

【背景】:
1、展鹏达迁至新公众号
2、搭建独立新公众号承接新业务。

【工作内容】:
分两大块:1)展鹏达数据清算。2)转至新bo。
    ~名词申明:展鹏达公众号 简称 A;  新公众号 简称 B 

    ~迁移手段:
    1、利用微信官方迁移功能,保留原粉丝、官方粉丝无缝迁移
    2、充电html5应用 通过技术手段迁移。
    3、期间充电服务不可用。

    ~待议项:
    1、A 的用户余额处理。
        1.1)清空A,讓用戶重新充值于B(建立后)
        1.2)遷移到B運營OK后陸續開通2.1和2.2,因爲涉及互聯互通對接和測試開通等工作;
    2、A 和第三方合作,包括:
        2.1、小桔滴滴 互联互通
        2.2、令狐充互联互通
    3、A 的历史记录,包括:
        3.1、充电
        3.2、消费
        推荐:以上3.1、3.2 保留在B
    4、客服方面:A 运营时期发生的用户纠纷,迁移 B 后,处理机制。
        4.1、异常账单 A阶段已处理,但 B 接手后,用户提出质疑
        4.2、A 阶段 ,用户看到退款公告后,未及时申请退款。B 的处理。
        建议:提示要他們發公告,内容寫清楚責任。
    5、微信官方迁移的申请手续和山西流程一致,A 和B在当地需 协同参与。参见附件

    富哥最终方案:独立全新 0用户数。A、B公众号间不迁移。

    1、旧的停止运营。
    2、独立新的,不迁移用户数。
    3、旧的历史数据 不需要看到, 由 展鹏达自行处理旧用户纠纷。
    4、割接时间 1-2小时,建议白天。
    5、聚能桩
    6、旧的用户数据:5060个

    因为注册帐号类型一旦选择将无法变更,所以需要使用其他类型帐号只能重新注册或者进行帐号迁移。
    申请迁移无需主体一致,原帐号A和迁移对象帐号B必须是验证过主体信息(组织类完成小额打款验证或认证成功、个人类完成信息登记审核),个人不能作为迁移目标对象哦。

--解决:
状态(☑表示选定 ):  已解决  |  处理中  |  暂搁置 
售后(跟单)工程师: 施文俊

zpd_case#33_20200312

问题描述:对于同一种充值面额送代金卷,为了满足大小客户(大客户:大货车,一次充电消费超过100元的;小客户:私家车),分别送给他们不同面额的代金卷。

--跟踪

【产品】:标签有自定义标签和固定标签。自定义标签是通过设置一个标签的名称,然后人工绑定用户的方式实现。固定标签就是系统写好了逻辑,只要用户达到了标准,就自动打标签。就是固定标签绑定了活动,当有新的用户满足条件打了标签,就自动加入活动。(如果活动还在有效期内的话)自定义标签绑定了活动之后,标签内的用户自动绑定了活动,如果你编辑标签,增减里面的人员,就自动增减了参与活动的人。然后活动允许同时绑定多个固定和自定义标签,会进行排重。固定标签需要增加一个金额大于x元=高额消费的标签,这个功能开发+测试需要4个工作日,最快3月23日开始。

--解决:
状态(☑表示选定 ):  ☑已解决  |  处理中  |  暂搁置 
售后(跟单)工程师:chinyee

zpd_case#32_20200312

问题描述:这个客户反应5元的代金卷不可以使用!你能不能帮我看下是怎么回事!

1584079992638-746.png

--跟踪

【chinyee】:该用户今天凌晨一共充了三次电都有用到优惠券5元,请问是哪天没用到

【客户】:那他5元卷估计用不完

【chinyee】:您可以在充电记录页面输入手机号,点击查看详情里面的收费记录都有写清楚。

--解决:
状态(☑表示选定 ):  ☑已解决  |  处理中  |  暂搁置 
售后(跟单)工程师:chinyee

zpd_case#32_20200306

问题描述:展鹏达查看滴滴充电记录

--跟踪

【步骤】:
1、登录https://mc.linghuchongtech.com/, 依次进入“首页/营收管理/账单管理/充电记录”。
2、子运营商选择“小桔滴滴”;选择时间区间,点查询。
1583466955565-257.png

--解决:
状态(☑表示选定 ):  ☑已解决  |  处理中  |  暂搁置 
售后(跟单)工程师:施文俊

zpd_case#31_20200302

问题描述:展鹏达公众号无法使用一号多充

背景

现在一个车队,有10台车,已经办了充电卡,现在充电卡还没有送到客户手中。
客户着急给这10台车充电,发现公众号上有一号多充功能,可是不能使用!

--跟踪

【YD】:13927583235 用户不是虚拟用户,无法查询到充电密码。让展鹏达人员告诉客户使用密码进行多充。

--解决:
状态(☑表示选定 ):  ☑已解决  |  处理中  |  暂搁置 
售后(跟单)工程师:施文俊YD

zpd_case#30_20200114

问题描述:客户扫码充电显示有一个任务未结束,请在-173662秒内完成操作启动充电。重复操作后还是显示这个页面。请郑经理联系令狐冲后台处理。

1578991825541-925.png1578991849273-335.png

--跟踪
【令技术】:这个是前天历史遗留的异常状况 已经处理了

--解决:
状态(☑表示选定 ):  已解决  |  处理中  |  暂搁置 
售后(跟单)工程师:chinyee

zpd_case#29_20200113

问题描述:现在管理员反应,我们现在有充电桩,启动不了桩!任务也结束不了!用户已插枪,再扫码显示有充电任务!  20200113113140381259现在河背的桩出现这样的问题

1578887635953-279.png

--跟踪
【chinyee】:在平台上看该账单状态一直为 正在鉴权

数据库查看该账单

1578887731182-686.png

recharge_history_status_report:

1578887757179-448.png

【令技术】:扫码之后一直没有启动充电

--解决:

状态(☑表示选定 ):  已解决  |  处理中  |  暂搁置 
售后(跟单)工程师:chinyee

zpd_case#28_20200110

问题描述:你好,这个客户第一个充了21.99度电没计费!你这边能不能查下什么原因?谢谢

1578627678520-549.png

--跟踪
【令】:这张是故障账单 把这个账单号输入到故障账单 点击手动修正 点击右上角应用 再按确定

--解决:
状态(☑表示选定 ):  已解决  |  处理中  |  暂搁置 
售后(跟单)工程师:chinyee

zpd_case#27_20200108

问题描述:展鹏达对接小桔(即 滴滴app扫码充电)

--跟踪
【背景】: 对接需要满足以下:
1、技术对接。【niewei】
2、站点和桩的基础数据完整性。(类似粤易充之必填数据)。【我方指导客户操作】
3、子运营商配置(类似坚信对接小桔)。【我方配置】

【YD】:20200109

2)站点及桩资料已在平台配置好。

3)已在平台配置好(滴滴子运营已启用,对接虚拟用户余额为0)
--解决:
状态(☑表示选定 ):  已解决  |  处理中  |  暂搁置 
售后(跟单)工程师:施文俊

zpd_case#26_20200102

问题描述:财务需知道19年3、4季度桩枪数变化

--跟踪
【shi】:见下图
2019第三季度
1577938362114-288.png
2019第四季度
1577938300443-831.png
--解决:
状态(☑表示选定 ):  已解决  |  处理中  |  暂搁置 
售后(跟单)工程师:施文俊

zpd_case#25_20191230

问题描述:河背2号桩1号枪扫码后不显示自动充满!其他没有问题!

--跟踪
【令】: 44030900210000200007这个桩的1号枪 客户扫码后手机没有 自动充满 这个选项 导致用户取消服务 都去2号桩充电去了 我看了近几日数据都是这样

【令技术】:桩有问题,上传的状态一直都是枪没有插上。界面上应该是提示他们插枪,如果插了枪也没变化就有可能是充电枪坏了 (考虑到换到2号枪就没问题可以排除程序问题和车问题)
--解决:
状态(☑表示选定 ):  已解决  |  处理中  |  暂搁置 
售后(跟单)工程师:chinyee  施文俊

zpd_case#24_20191217

问题描述:有没有那种下个微信公众号,绑定充电卡,客户可以自己往卡里面充值?

--跟踪
【令】: 可以让客户关注展鹏达微信号并注册,您这边去会员管理通过手机号找到他,点击编辑 输入充电卡号就可以,然后直接微信充值就行 卡里和账户余额的钱是一样的。
--解决:
状态(☑表示选定 ):  已解决  |  处理中  |  暂搁置 
售后(跟单)工程师:chinyee

zpd_case#23_20191205

问题描述:客户在部门管理新建了一个部门,采用刷卡和密码充电,开通一个子账户给部门客户查看充电记录。

--跟踪
【令】: 帮客户新建了一个账号jybj(供车队使用) 权限为查看充电记录
新建了一个子运营商 玖月搬家公司  部门已绑定子运营商。该部门为这周开始设置,需要导入之前的充电记录。
--解决:
状态(☑表示选定 ):  已解决  |  处理中  |  暂搁置 
售后(跟单)工程师:施文俊 chinyee

zpd_case#22_20191204

问题描述:松岗3号桩用密码充不了电

1575422351371-202.png

--跟踪

【令】:查看该时间段出现桩故障,让客户检查网络是否稳定。

1575422415927-246.png

--解决:
状态(☑表示选定 ):  已解决  |  处理中  |  暂搁置 
售后(跟单)工程师:chinyee

zpd_case#21_20191126

问题描述:办理企业号客户反应了两个问题!

--跟踪

【shi】:以下问题皆基于刷卡充电前提,需分用户类型讨论,
类型1:真实个人注册了微信充电服务-简称:【真实用户】
类型2:未注册微信充电服务-简称:【虚拟用户】

1.每次充电电度,地点和金额能不能通过微信或者短信的方式通知到客户?客户知道在哪里消费了多少金额!
答: 
【真实用户】方案:真实用户之微信号+【选择部门扣费渠道】。
【虚拟用户】方案:虚拟用户 分配 在1个部门(子运营商),提供给部门管理员平台的子账号,可登录后台查看相关充电记录。

2,客户余额能否设置个报警告知客户卡上余额不多了需要充值?
答:
【真实用户】方案:“首页/客户管理/会员管理/会员管理”中配置 【账号余额提醒】阀值,余额达到指定金额,系统给出微信消息提示。
【虚拟用户】方案: ”首页/客户管理/企业部门管理“中定位虚拟用户对应指定部门,页面右上角 配置 【账号余额提醒】阀值,余额达到指定金额,系统给出微信消息提示。查看部门操作见下:
a)“首页/客户管理/会员管理/会员管理“ 找到指定虚拟用户绑定的部门。
b)”首页/客户管理/企业部门管理“中定位部门,为其设置手机号。

具体操作需根据客户选择,再给出操作步骤。

~update 12.3

【chinyee】:客户选择了虚拟用户类型进行操作配置。
帮客户新建了一个账号whly(供车队使用) 权限为查看充电记录
新建了一个子运营商 深圳市为华旅游运输有限公司  部门已绑定子运营商
【shi】:人工补救处理办法。 shi已处理。
1、查询部门id=28的充电记录之条件sql 如下,知悉11.22日后此部门下用户开始充电,发现此部门下只有1个虚拟需用,useId=00072889
where 1=1
and rh.C_CREATE_DATE>'2019-11-22 02:00' 
#and rh.C_SUBOPERATOR=16
and m.C_ENTERPRISE_ID=28

2、根据1分析结果,执行纠正数据(因运营数据之关键,执行需确保100%无误)
    a 确认需纠正数据,比如数量。
             SELECT id from recharge_history rh where rh.C_CREATE_DATE>'2019-11-22 02:00' and rh.C_MEMBER_ID in (select id from member where c_user_id='00072889');
    b  执行纠正数据
            update recharge_history rh set C_SUBOPERATOR=16 where rh.C_CREATE_DATE>'2019-11-22 02:00' and rh.C_MEMBER_ID in (select id from member where c_user_id='00072889'); 

--解决:
状态(☑表示选定 ):  已解决  |  处理中  |  暂搁置 
售后(跟单)工程师:施文俊

zpd_case#21_20191126

问题描述:这个车天天在我这里充电,今天怎么都充不了了!这个报错是什么意思?

1574757543672-178.png1574757558197-103.png

--跟踪

【chinyee】:从充电记录来看,充电停止原因:[2]与车辆通信超时

【shi】:bms 和电桩握手时超时,车的bms问题,然后让他去找车厂

--解决:
状态(☑表示选定 ):  已解决  |  处理中  |  暂搁置 
售后(跟单)工程师:施文俊 chinyee

zpd_case#20_20191126

问题描述:

你们说的等待30到80秒是指公众号扫码后,到公众号界面弹出充电选项; 还是公众号内已经下发了充电,电桩要30到80秒才有响应

公众号界面需要等待30到80秒,点击充电后马上启动充电桩。

--跟踪

【YD】:展鹏达聚能桩 我查了看了最近一个星期左右的盛弘桩和聚能桩的部分充电记录心跳

聚能桩记录中有相当部分的状态开始是这样从2-3-2-3的情况 盛弘桩基本都是2-3-3-3

账单号:20191125004937842819、20191125202531894994
~update 20191127
【john】:从日志上看是2-2-3-3这个顺序的,因为数据库日期字段精度问题丢失了毫秒,所以你这个查询排序有问题。另外因为变化太快,前端UI可能直接就拿到3了。
【shi】:根据john回覆,应该不是2-3-2-3 问题。 以下新的分析发现, 鉴权 到 枪状态变化 的时间较长 可能是 聚能桩 目前问题所在(聚能桩存在状态1,且1-》2的时间消耗较多,对比盛弘桩不存在状态1)。
~~~~聚能桩 3例
~44030900210000200006 | 20191125004937842819 鉴权轨迹  ,状态1-》2 用了55秒,状态2 -》3 用了37秒
时间                                状态
2019-11-25 00:49:38      1
2019-11-25 00:50:33      2
2019-11-25 00:51:10      3
~44030900210000200007  | 20191127055345257233  鉴权轨迹  ,状态1-》2 用了30秒,状态2 -》3 用了22秒
时间                                状态
2019-11-27 05:53:46      1
2019-11-27 05:54:16      2
2019-11-27 05:54:38      3
~44030900210000200008  | 20191127080234995388  鉴权轨迹  ,状态1-》2 用了20秒,状态2 -》3 用了19秒
时间                                状态
2019-11-27 08:02:34      1
2019-11-27 08:02:54      2
2019-11-27 08:03:13      3

~~~~盛弘桩 2 例,皆不存在 状态 1,说明都是插枪后 鉴权,桩上送的是2-枪准备就绪
~ 44030900210000200001 | 20191127085834682518  鉴权轨迹  ,状态2 -》3 用了33秒
时间                                状态
2019-11-27 08:58:34      2
2019-11-27 08:59:07      3
~ 44030900210000200001 | 20191127085816880169  鉴权轨迹  ,状态2 -》3 用了27秒
时间                                状态
2019-11-27 08:58:33      2
2019-11-27 08:59:00      3
【客户】:现场试充电桩,已经没有延迟问题。
【shi】:聚能未报告有做改动。令狐充未做改动,待观察,后续有类似情况请用户:1)拍视频。2)提供账单号

--解决:
状态(☑表示选定 ):  已解决  |  处理中  |  暂搁置 
售后(跟单)工程师:施文俊 YD

zpd_case#5_20191122

问题描述:财务这边每个月的进账都比平台上的收入高出很多?10月分财务进账13万,平台才显示9万多?

--跟踪
【shi】: 思路:分3部分:1)消费金额、2)充值金额、3)微信平台账户收入。 1,2平台的数值是不同。可按照客户搜索条件,按照我们思路先算。再和客户比较。
预充值。平台是已消费。客户业务上一点都无常识。不要被他节奏带走。 如果 平台充值和 微信到款 不一致 这才有问题。
--解决:
状态(☑表示选定 ):  已解决  |  处理中  |  暂搁置 
售后(跟单)工程师:施文俊

zpd_case#18_20191120

问题描述:客户的意思是想一个手机充值,他公司的司机可以在我们这里充电,费用全部从充值手机扣费。整个车队用一张卡充电,所有展鹏达的桩都可以给此车队充电。

需求场景:
1、车队含大巴、小型社会车辆。
2、整个车队用一张卡 充电,车队司机刷卡充电。
3、扣费走车队部门资金池,转账等线下方式值到部门账户。
4、(此项现阶段忽略)电池系统能否上送车架号不明确。
5、客户要求设置1个密码,支持 密码充电。
6、支持1卡1密码同时启动多台车充电。

执行:
1、平台支持需求场景,即:整个车队用一张卡 充电,车队司机刷卡充电 或  密码充电。扣费走车队部门资金池,转账等线下方式值到部门账户。
2、请展鹏达方和Tom沟通购买充电卡之商务。
3、可同时进行此车队模式的平台配置,见下步骤:

平台配置步骤:(其中2、3项现阶段忽略)
1.在首页/客户管理/企业部门管理页面,在部门设置右击“新增部门”,填写部门名称比如”车队a“(可以是车队名字)后点击保存。最下面绑定电站点击“查看绑定”,选择车队可以充电的电站。
2.(此项可选,如公交大巴电池系统能上送车架号则执行,否则其余社会小型车辆可忽略此项。)在首页/客户管理/车辆管理/导入车牌和车架页面,点击“点我下载批量导入车架模板文件”,车架号和车牌号需要找客户拿到然后录入,车厂直接写“OJL“即可,部门ID可在首页/客户管理/企业部门管理页面,找到该车队部门名称,操作栏页面有写部门ID。表格填写完后点击”浏览文件“,然后点击”上传“,下拉找到刚刚上传的表格,在操作栏点击”解析数据导入系统“。
3.(同第2项原因,此项可选)在首页/客户管理/车辆管理/车辆车架管理页面,部门选择车队名字点击查询即可找到车队信息。

4.在首页/客户管理/会员管理/会员管理页面,点击”创建用户“,用户类型选择”真实用户“,用户昵称填写”比如车队a充电卡“,部门选择”车队a“。
5. ”车队a充电卡“ 创建后,在操作栏点击编辑,填写充电卡号,然后点击保存,此充电卡 即为此车队 充电卡。(充电卡由令狐充提供)
6.  ”车队a充电卡“ 创建后,在操作栏点击”修改密码“,记录充电密码,此密码 即为此车队 充电密码。
7.  给部门账户充值,在首页/客户管理/企业部门管理页面找到部门”车队a“,部门余额右边点击”充值”,输入到账金额后点击保存即可。
8. 完成以上配置,测试刷卡充电。所有此充电卡启动的充电 对会从部门 ”车队a“扣费。

--解决:
状态(☑表示选定 ): 已解决  |  处理中  |  暂搁置 

售后(跟单)工程师::施文俊 Chinyee

zpd_case#17_20191115

问题描述:展鹏达聚能桩异常账单统计

提供一份数据:1)异常账单统计。

1)异常账单统计:下表为 2019年11月 之异常代码统计

异常代码\统计时间段大浪充电站(Ver1.0.0)河背充电站(Ver1.0.0)
时间段内成功充电次数49139

3- 时间异常

411

--解决:
状态(☑表示选定 ): ☑ 已解决  |  处理中  |  暂搁置 

数据统计人:Chinyee

zpd_case#16_20191115

问题描述:请按清单上正确的产品型号填写。

--跟踪
1573782442522-746.png

--解决:

状态(☑表示选定 ):  已解决  |  处理中  |  暂搁置 
售后(跟单)工程师:施文俊  chinyee

zpd_case#15_20191108

问题描述:聚能直流桩 投入运营,令狐充提供支撑。

--跟踪
固件相关:不支持ftp远程升级,如果有版本更新话,只能人工现成升级。
背景:
1、河背108工业园4台设备,8把枪。
2、鸿富工业园2台设备,4把枪。
聚能落地计划建议:
1、建议初期安排试运营阶段,并告知用户站点为试运营。
2、确定初期投入运营站点、和桩数量。在平台端完成 站、桩、电价配置。 桩产品类型选 聚能直流。
3、展鹏达填写《令狐充-微信充电系统落地清单.doc》后给到令狐充、平台方按照落地计划协助跟进。【郑经理 】
--解决:
状态(☑表示选定 ):  已解决  |  处理中  |  暂搁置 
售后(跟单)工程师:施文俊

zpd_case#14_20191106

问题描述:你好,这个客户要求退款,我查会员显示余额是0!这是怎么回事啊?

1573010743592-240.png1573010788232-657.png

--跟踪
【chinyee】:客户手机号:13128988520  通过数据库查询 客户充值了2次一共充了80元,充电记录有24条,只有一条有扣费40.1,帐单号为20191104222631865480。查看了该账单号心跳,发现有状态多次出现8,查看故障记录是桩离线原因,该账单为正常扣费,通过用户id查看用户表的可退款金额显示为0。

【shi】:分析见下
1、数据库,确实应剩余40元
1573014329902-633.png
2、“首页/客户管理/会员管理/退款审核管理”,查得展鹏达曾开启过在线退款,存在已申请记录。 用户提出申请,余额会清零。
1573014560992-480.png

【客】客户已退款清单:10月30-9点48-金额20元-电话15913832032
                                        10月31-11点15-金额11.35元电话13927401929
                                        11月6-10点25-金额29.82元电话13827461280
--below on 20191107
【shi】:
1、告知客户 人工退款暂时缓一缓,涉及到退款是否关联删除已发放代金券,预计11.12日系统更新后再进行。
2、更新后,代替客户把所有在线申请的退款都驳回,金额退至用户账户。
3、请用户走人工退款, 默认勾选删除关联已发放代金券。
--below on 20191111
展鹏达BO退款已更新,告知客户,并支撑客户对之前退款未完成,按新方法执行。

--解决:
状态(☑表示选定 ):  已解决  |  处理中  |  暂搁置 
售后(跟单)工程师:施文俊  CHinyee

zpd_case#13_20191104

-------
问题描述:10月电损对账
--分析:

思路:

  1. 统计平台10月份充电量;记录10月份电表抄见数。比较两份基础电量数据。
  2. 分析电量数据,查找问题原因
    • 异常账单未处理,导致账单未结算。
    • 桩端电损设置不合理。(配置方法请咨询桩厂家)
  3. 其它待补充。
用电\园区108物流园松岗工业园
2019.10月 月报数据总电量=43109.37;总金额=42386.09总电量=44612.27;总金额=49256.87
2019.10月 电表抄见数8164.2+18225.6+21303=47692.810200+19440+22020=51660
2019.10月 月报数据/电表抄见数  43109.37/47692.8=90%44612.27/51660=86%

--跟踪
【令】:
--解决:
状态(√表示选定 ):  已解决  |  处理中  |  暂搁置 
售后(跟单)工程师:何倩怡

zpd_case#12_20191030

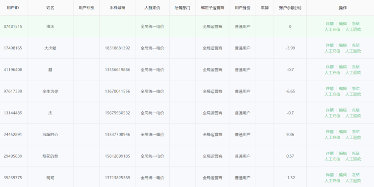
问题描述:【客】今天我看了下客户余额怎么有很多负数!多的十多块,少的几毛,数量也很多!

1572418234389-867.png

--跟踪
【客】:客户充值,点自动充满!按道理是没钱了自己断开连接,不应该有这么多负数!像这个客户负15元!他完全可以不来我们这里充电了!

【客】:最好是到1元或者0.5元就停!让客户余额里面一直是正数!

【令】:该客户13670011556 余额为-6.65 最后一次充电账单号20191029180631796018 充电停止原因:后台终止  充电期间该桩出现过离线状态。

【shi 分析】: 
问题:客户质疑余额出现较大负数。
原理:余额不足系统判断停止是基于心跳,如期间无法收到心跳,则无法及时停止。可能造成较大负数情况。下面从客户提供之充电数据 举例说明:

账单号 20191029180631796018,充电过程发生的心跳数据见下:

2019-10-29 18:25:05 心跳收到状态 8 ,电量 7.31。 疑似发生离线,在18:38:57左右开始重连(多次),在18:39:41左右收到最新的心跳。【niewei】
2019-10-29 18:38:57 心跳收到状态 3 ,电量 7.31。 和上一项相邻心跳,期间无心跳。
2019-10-29 18:39:41 心跳收到状态 3 ,电量 21.32

建议:运营方检查当地网络稳定性。

--解决:
状态(☑表示选定 ): 已解决  |  ☑ 处理中  |  暂搁置 
售后(跟单)工程师:施文俊  CHinyee

zpd_case#11_20191030

问题描述:【客】有个客户需要退款!我这边能处理不?

--跟踪
【令】:可以的 客户在公众号个人中心先申请退款 你这边后台首页/客户管理/会员管理/退款审核管理有这样的页面,需要你审核才能退款

【客】:我点人工退款了

【令】:你点击了人工退款 需要到微信商户平台找充值账单去进行退款 我这边是不能进入的 所以建议不要使用人工退款 最好让客户自己申请退款 你在后台审核这样就可以一步到位了

【令】:郑经理你好,对于客户退款,现在平台的退款审核先不能用,所以如果有客户需要退款,需要你点击人工退款,然后去商户平台退款那里找到账单退款。
--解决:
状态(☑表示选定 ): ☑ 已解决  |  处理中  |  暂搁置 
售后(跟单)工程师:施文俊  CHinyee

zpd_case#10_20191024

问题描述:20191024 17:00-20191025 9:00展鹏达异常账单统计

提供一份数据:1)异常账单统计。

1)异常账单统计:下表为 2019年10月 之异常代码统计,(微信=展鹏达公众号充电)

异常代码\统计时间段

微信 24日17:00-25日9:00(次)

盛弘版本2090404

时间段内成功充电次数

8474

异常账单

00

--解决:
状态(☑表示选定 ): ☑ 已解决  |  处理中  |  暂搁置 

数据统计人:Chiyee

zpd_case#9_20191024

问题描述:客户第一次使用代金卷功能,讲解代金卷的使用。

--跟踪

答:首页/营收管理/充电计费管理/代金券管理页面点击“新建",会弹出代金卷添加的信息,带*号的信息项要全部填写完成代金卷才可以生效。

赠送条件:分为两种情况,一种是新用户直接送代金卷,一种是充额定值送。

每份赠送张数:可设置满足赠送代金卷条件后,一次性可发放多少面额的代金卷。

总赠送分数:该代金卷赠送一共可以发放多少张。

适用部门:若选择了部门,该代金卷赠送只适合赠送满足条件该部门人群。

适用子运营商:该代金卷只适用于满足赠送条件的子运营商客户。

适用站点:代金卷只适用于绑定的站点,若无绑定则适用于所有站点。

卷赠送时间:在该时间段都会发放满足赠送条件的客户代金卷,不在该时间段内代金卷将不会发放。

最低消费额度:充电消费多少额度才可以使用代金卷。

卷有效类型:可选择特定天数或特定时间段内有效。

举例:充1000元送100代金卷,100代金卷可拆分为20张5元的代金卷,消费额度设置成20元才可以使用,那么充电20元代金卷抵扣5元,实际收取15元。

注:消费一次只可以使用一张代金卷,不可叠加使用。

1571971764173-967.png

--解决:
状态(☑表示选定 ): ☑ 已解决  |  处理中  |  暂搁置 
售后(跟单)工程师:何倩怡

zpd_case#8_20191023

为郑经理培训。

培训大纲:
后台地址:https://mc.linghuchongtech.com
一、电站电价设置
1.1、固定电价
1.2、分时电价

二、平台电桩设置
2.1、配置电站
2.2、配置电桩

三、充电记录
3.1、查看充电记录。
3.2、处理异常账单。参见 http://wiki.linghuchongtech.com/wiki/bin/view/%E4%BA%A7%E5%93%81FAQ/%E9%87%8D%E8%A6%81-%E8%B4%A6%E5%8D%95%E7%9F%AB%E6%AD%A3/

四、日常电桩问题检查步骤
4.1、现场人员问题先报告至展鹏达郑经理。
4.2、登录后台查数据,进行分析,将结果汇报现场人员。
4.3、不能解决的问题,填写工单提供令狐充,包括:数据、问题描述。(详细见 工单模板)

zpd_case#7_20191023

问题描述:展鹏达201011-20191122异常账单统计

提供一份数据:1)异常账单统计。

1)异常账单统计:下表为 2019年10月 之异常代码统计,(微信=展鹏达公众号充电)

异常代码\统计时间段

微信 11日-22日(次)

盛弘版本2090104

时间段内成功充电次数

14511451

1-账单丢失

162162

2-账单丢失(设备离线)

11

11-电量丢失

11

9-充电时长与平台不符

11

解决方案:

  • 令狐充排查:该时间段发生故障账单的都为盛弘版本2090xxx的桩。
  • 要求盛弘厂家继续排查寻找账单丢失原因。

--解决:
状态(☑表示选定 ): ☑ 已解决  |  处理中  |  暂搁置 
数据统计人:Chinyee

zpd_case#6_20191017

问题描述:客户要求 我方 代替客户 取消所有电站电价中的占桩费

--跟踪
【令】:已取消所有电站电价中的占桩费。
--解决:
状态(☑表示选定 ): ☑ 已解决  |  处理中  |  暂搁置 
售后(跟单)工程师:施文俊

zpd_case#5_20191017

问题描述:见下
1、客户后台管理人员变化,由杜总 转为 小郑。
2、客户要求为 展鹏达小郑 进行培训。
3、要求 取消7月以来 所有已收的占桩费。
4、客户提供文案,群发公众号消息,告知用户  取消7月以来 所有已收的占桩费。
--跟踪
【令】:

解决方案计划 :

  1. 客户后台管理人员变化,由杜总 转为 郑经理。
    • 需杜总 先将平台管理账号密码 转交至 小郑。【展鹏达执行】
    • 小郑准备可上网电脑、安装谷歌浏览器。【展鹏达执行】
    • 小郑熟悉后台操作手册,记录不明白的问题清单。【展鹏达执行】
  2. 关于 展鹏达郑经理 培训。
    • 杜总转交提供小郑后台操作手册。【展鹏达执行】
    • 杜总先对郑经理进行工作移交和培训。【展鹏达执行】
    • 视情况,如不能达到培训效果,令狐充公司内部评估后安排现场培训。
  3. 要求 取消7月以来 所有已收的占桩费。
    • 统计已收占桩费数据情况。【令狐充给出报告】
    • 基于数据报告,和客户协商,令狐充给出执行方案,见下:
      • 停收占桩费:2019.10.17 令狐充已按客户要求移除站点电价中所有占桩费。
      • 已收占桩费数量:从2019年7月截止2019.10.21,共有137例充电含占桩费。
      • 用户占桩费清单:令狐充提供137例占桩费数据,包括:微信用户昵称、手机号(第4-7位用xxxx代替)、账单号、账单费用、占桩费费用。【令狐充执行 chinyee】
      • 微信群发公告展示清单:群发文章 末尾 列出137例将要执行退费的用户费用信息。【令狐充执行 chinyee】
      • 由客户手工处理:待展鹏达内部完成工作移交培训后,对137例占桩费逐个操作退费。【展鹏达执行,必要时令狐充提供支持】
  4. 群发公众号消息,告知用户  取消7月以来 所有已收的占桩费。
    • 客户提供文案。【完成】文案:“截止日为2019年10月18日,之前所有站桩费将取消,计划扣费退给客户”
    • 视客户操作能力范围,再决定由哪方操作微信文章的撰写和发送。【令狐充执行 chinyee】
  5. 电桩小概率误收占桩费bug处理:(因厂商固件升级问题,计划暂时延后)
    • 2019.10.17-10.18 ,令狐充协助展鹏达现场盛弘直流桩远程升级,解决占桩费bug。
    • 2019.10.18-10.19,客户和令狐充观察升级解决之效果。

下表为占桩费统计数据,样本时间区间 2019年7月-10月15日

其中:
1、最早一条含占桩费的记录时间: 2019-08-02 16:20:15,账单号:20190802162015183497
2、最早一条占桩费用大于5元记录发生在2019-09-08 17:32:39,推测那时客户有调高占桩费,导致过高收费 流失客户。
3、从统计数据发现 天价占桩费 的发生概率比较低,为6次,见(占桩费用大于10元且充电时长小于60秒记录数)
4、对于设备bug引起的小概率 天价占桩费 ,平台方近日升级现场桩。
5、仅从数据分析,”占桩费用大于5元且正常启动“发生103次,运营商应评估是否时长定价策略有误。小概率bug的解决并不能解决市场运营的问题。

条件\次数次(分析)
时间段内成功充电数8498
产生占桩费的记录数127
含占桩费且充电时长小于60秒记录数6(一般车辆和桩交互异常导致60秒内启动充电失败且充电停止,用户不拔枪不撤离产生占桩费)
占桩费用大于10元且充电时长小于60秒记录数4(占桩费分别为:73元、361元、433元、13.6元。 建议用户启动充电停留1分钟确保正常充电后再离开。)
含占桩费且充电时长大于60秒记录数121(成功启动后一般不会因故障停止。充电停止原因:1.满电2.用户停3.余额不足。此情况占桩费因客户未及时撤离)
占桩费用大于5元且充电时长大于60秒记录数103(最早发生时间2019-09-08 17:32:39,是否那时调高占桩费,导致过高收费 流失客户)
  

--解决:
状态(☑表示选定 ):  已解决  |  处理中  |  暂搁置 
售后(跟单)工程师:施文俊

zpd_case#5_20191016

日期:2019年10月15日
桩站名称:松岗工业园充电站
手机号:18978504136
订单号:   20191015231824644614
充电桩号: 44030600210000200001
充电枪号:
开始充电时间: 2019-10-15 23:18:25
现场网络连接状态:
近期故障状态:
是否异常账单(根据账单号搜索):      异常状态:启动服务失败
问题描述:异常账单里面这查不到。
--跟踪
【shi】:
1、mc充电记录菜单 可以查到 充电记录,状态=启动服务失败。
2、mc故障记录菜单 无法查到 记录(包括:待处理、已处理)。
3、客户认为疑似多收占桩费。
4、转研发进一步分析。

QQ【一杯清茶】:

启动服务失败不存在收费问题,该用户是有另外一个账单疑似多收了占桩费。  20191015223544534102
这种情况可以在“充电账单管理”那里,输入用户手机号,选择最近一段时间,查看比较大的金额的账单,看看是不是有问题

--解决:
状态(☑表示选定 ): √ 已解决  |  处理中  |  暂搁置 
售后(跟单)工程师:施文俊

zpd_case#4_20191015

---

运营商: 展鹏达
桩站名称:石岩108物流园展鹏达充电站
手机号:18818902723
订单号: 20191013080051738725
充电桩号: 44030900210000200002
开始充电时间:2019-09-13 08:00:57
充电结束时间:2019-09-13 08:13:57
服务开始时间:2019-09-13 08:00:57
服务结束时间:2019-09-13 11:34:17
充电时长:13分钟
占桩费:148元

问题描述:产生预期外的占桩费。
-------------------------
运营商初步排查结果:无

--分析

一、占桩费规则:
石岩108物流园展鹏达充电站 的设置为充电结束时计费0.8元/分钟,免费时长15分钟。
占桩费=(服务结束时间 -(充电结束时间+15分钟))×0.8元

二、此账单平台查得数据:("营收管理/账单管理/故障账单"查询订单号:20191013080051738725)
充电结束时间:2019-10-13 08:19:33 | 服务结束时间(一般等于拔枪时间):2019-10-13 11:34:19
充电停止原因: [99]意外停机如拔枪

三、分析:
按照贵司设置,占桩费为充电结束后15分钟后,每分钟8毛。此用户充电结束时间:2019-10-13 08:19:33,服务结束时间:2019-10-13 11:34:19,期间按规则收取占桩费符合规则。

【令狐充】:我方不清楚现场实际情况,请客户确认用户当时是否为: 插枪 未充电 占位中?
【客】:没有占桩,取消占桩费。
【何远东执行】:应客户要求纠正充电数据(取消客户占桩费收费),按 “账单矫正”规则代替客户纠正数据。

订单号:20191013080051738725 在平台"营收管理/账单管理/故障账单"选择手动修正,服务结束时间由原来2019-10-13 11:34:19 更改为与充电结束时间一样2019-10-13 08:19:33 并重新计算保存。更改后该订单消费总额3.4元,占桩费0元/充电金额2.35元/服务费1.05元。

--解决:

状态(√表示选定 ): √ 已解决  |  处理中  |  暂搁置

售后(跟单)工程师:何远东   纠正补充:施文俊

zpd_case#3_20191009

问题描述:客户异常账单可能不是每日及时处理,导致账单堆积。

--跟踪
【令】: 异常账单处理必须及时不能等太久,这方面需要给展鹏达同事沟通清楚计划每一天处理。远东每天登录到展鹏达看看,督促 客户每天处理。

【YD】:先提醒一个星期,到10-16为止是一个星期。

20191018

【YD】:平台上这几天有异常账单还未处理

【客户】:目前公司已更换平台操作管理人员,待施工安排培训,可否贵司抽空处理一下

【YD】:代为处理,一共38条故障账单。(截止时间为10:38)

20191016161822566095账单丢失
20191016165531764931账单丢失
20191016172519479244账单丢失
20191016173458522535账单丢失
20191016183506694988账单丢失
20191016185156443544账单丢失
20191016194122613657账单丢失(设备离线)
20191016223257505373账单丢失
20191016225859703030账单丢失
20191017000913074789账单丢失
20191017010749211023账单丢失
20191017015025283524账单丢失
20191017015150042047账单丢失
20191017022029446380账单丢失
20191017034718755781账单丢失
20191017060054402845账单丢失
20191017062711339023账单丢失
20191017091359425637账单丢失
20191017093114868087账单丢失
20191017112159325267账单丢失
20191017123848013024账单丢失
20191017134206227002账单丢失
20191017152813692627账单丢失
20191017190640955167账单丢失
20191017195152726034账单丢失
20191018000519911294账单丢失
20191018001613439013账单丢失
20191018012913333275账单丢失
20191018013046828742账单丢失
20191018014049697109账单丢失
20191018015359014259账单丢失
20191018022309895100账单丢失
20191018025715685520账单丢失
20191018032535685506账单丢失
20191018055321161839账单丢失
20191018061704454131账单丢失
20191018063020194083账单丢失
20191018072359561119账单丢失
  

提供一份数据:1)异常账单统计。

1)异常账单统计:下表为 2019年10月 之异常代码统计,(微信=展鹏达公众号充电)

异常代码\统计时间段

微信 16日-18日(次)

盛弘版本2090xxx

时间段内成功充电次数

267267

1-账单丢失

3737

2-账单丢失(设备离线)

11

解决方案:

  • 令狐充排查:该时间段发生故障账单的都为盛弘版本2090xxx的桩。
  • 要求盛弘厂家继续排查寻找账单丢失原因。

--解决:
状态(√表示选定 ):  已解决  |  处理中  |  暂搁置 
售后(跟单)工程师:何远东

数据统计人:Chinyee  何远东
case创建:施文俊 

zpd_case#2_20191008

-------
问题描述:对账不对。
--分析:
 

思路:

  1. 统计平台8,9月份充电量;记录8,9月份电表抄见数。比较两份基础电量数据。
  2. 分析电量数据,查找问题原因
    • 异常账单未处理,导致账单未结算。
    • 桩端电损设置不合理。(配置方法请咨询桩厂家)
  3. 其它待补充。
用电\园区108物流园松岗工业园 
2019.8月 月报数据总电量=37689.39;总金额=32263.8总电量=21071.45;总金额=22892.01 
2019.8月 电表抄见数7548+14328+19830=417065280+9720+11880=26880 
2019.8月 月报数据/电表抄见数  37689.39/41706=90%21071.45/26880=78% 
2019.9月 月报数据总电量=45962.19;总金额=45889.65总电量=35666.23;总金额=46449.74 
2019.9月 电表抄见数8166+18222+21300=476886900+11820+14580=33300 
2019.9月 月报数据/电表抄见数45962.19/47688=96%35666.23/33300=107%【明显错误,电表数应大于平台电量】 
    
    

--跟踪
【令】:
--解决:
状态(√表示选定 ):  已解决  |  处理中  |  暂搁置 
售后(跟单)工程师:施文俊

zpd_case#1_20190921

-------

问题描述:客户未提供具体信息,只提到1个桩网络问题。

---跟踪

【令】:因为现场未提供具体桩号、时间等信息,我方只能查看故障记录,数据显示01,02枪频繁掉线,且无其他枪频繁掉线之情况。我方推测几个原因:1)现场网络问题。2)枪本地ip重复。

平台分析步骤:

  1. 登录 https://mc.linghuchongtech.com,依次进入“首页/系统管理/运维管理/故障记录”
  2. 筛选条件:故障类型选择【离线】,时间区间按需要选择,查询得到分析结果

---解决

状态(√表示选定 ):  已解决  |  √处理中  |  暂搁置  
售后(跟单)工程师:施文俊

标签:
在2019/09/21 14:30上被shi chuck创建